La bomba vertical de flujo continuo LW garantiza una gestión eficiente de aguas residuales con sólidos, sin preocupaciones en aplicaciones industriales ni de tratamiento de aguas residuales. Su diseño vertical ahorra espacio y evita obstáculos.
Artículo No :
LWOrden (MOQ) :
1Pago :
Alipay PayPal westernunion T/T L/COrigen del producto :
ChinaColor :
CustomizedPuerto de embarque :
shanghai shenzhen guangzhouTiempo de espera :
please contact 504893184@qq.com or CP +8613696510409Paquete :
CustomizedMaterial :
Cast ironBomba vertical de aguas residuales antiobstrucción
Nuestra empresa ha creado tres líneas de productos principales que conforman la serie LW (WL) de bombas verticales para aguas residuales. Estas bombas se modificaron para adaptarse a diversas necesidades de los usuarios y situaciones operativas, basándose en el modelo hidráulico de la serie WQ (anteriormente QW) de bombas sumergibles para aguas residuales. Desde su lanzamiento, la serie LW se ha consolidado como una marca reconocida y elogiada en el mercado por su diseño innovador y su rendimiento fiable.
Aplicación del producto
Este producto es apto para su uso en estaciones de descarga de aguas residuales en zonas residenciales, sistemas de drenaje en plantas de tratamiento de aguas residuales urbanas, estaciones de drenaje en sistemas de defensa aérea civil, instalaciones de abastecimiento de agua en plantas de tratamiento, descargas de aguas residuales en hospitales y hoteles, obras de ingeniería municipal, equipos de apoyo a la minería y la exploración, biodigestores rurales y riego agrícola. Es capaz de transportar agua limpia, fluidos corrosivos, aguas residuales y basura con partículas sólidas.
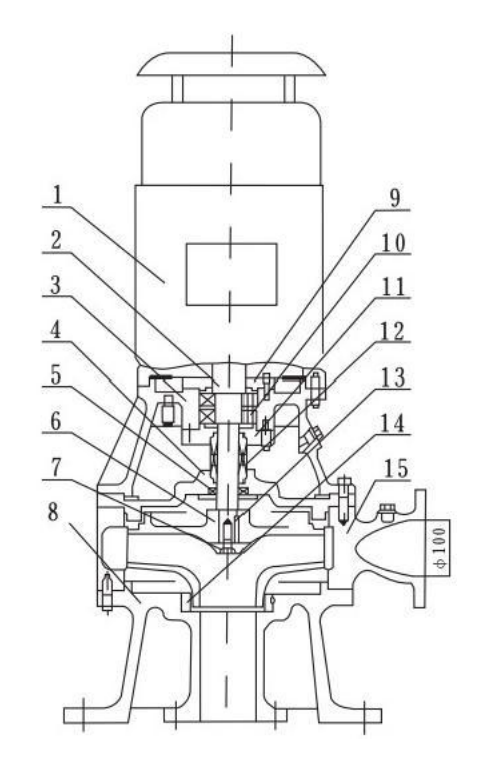
Diagrama estructural

| 1 | Motor |
| 2 | Eje de extensión |
| 3 | alojamiento del rodamiento |
| 4 | Tapa de la bomba |
| 5 | Retén de aceite |
| 6 | Impulso |
| 7 | Tuerca del impulsor |
| 8 | Base |
| 9 | Tapa del rodamiento |
| 10 | Cojinete |
| 11 | asiento de sello mecánico |
| 12 | sello mecánico |
| 13 | Llave |
| 14 | anillo de desgaste del cuerpo de la bomba |
| 15 | Cuerpo de la bomba |