Diseñada para ofrecer fiabilidad, la bomba centrífuga autocebante de acoplamiento directo ZXL ofrece un funcionamiento sin mantenimiento y un cebado automático eficiente. Es una solución versátil para una amplia gama de aplicaciones, desde la transferencia de agua agrícola hasta la manipulación de fluidos industriales.
Artículo No :
ZXLOrden (MOQ) :
1Pago :
L/C T/T westernunion Alipay PaypalOrigen del producto :
ChinaColor :
CustomizedPuerto de embarque :
shanghai shenzhen guangzhouTiempo de espera :
please contact CP +8613696510409Peso :
please contact 504893184@qq.comPaquete :
CustomizedMaterial :
Cast iron/Stainless steelBomba centrífuga autocebante de acoplamiento directo
La serie de bombas autocebantes de conexión directa ZXL es un producto innovador desarrollado con base en tecnologías nacionales e internacionales avanzadas. Como logro pionero en China, su rendimiento técnico se compara con los principales estándares internacionales, demostrando un gran potencial de aplicación y prometedoras perspectivas de mercado.
Ventajas del producto
Diseñada para optimizar la transferencia de fluidos en entornos exigentes, la bomba de acoplamiento directo ZXL elimina la complejidad de la instalación. Su diseño innovador no requiere válvulas de retención ni de pie y logra un autocebado fiable con un mínimo de fluido. Esta unidad compacta y sin vibraciones ocupa un espacio un 30 % menor, cuenta con sellos de carburo de tungsteno resistentes al desgaste y un motor con clasificación IP54, lo que la convierte en la solución ideal de bajo mantenimiento para uso industrial y agrícola en exteriores.
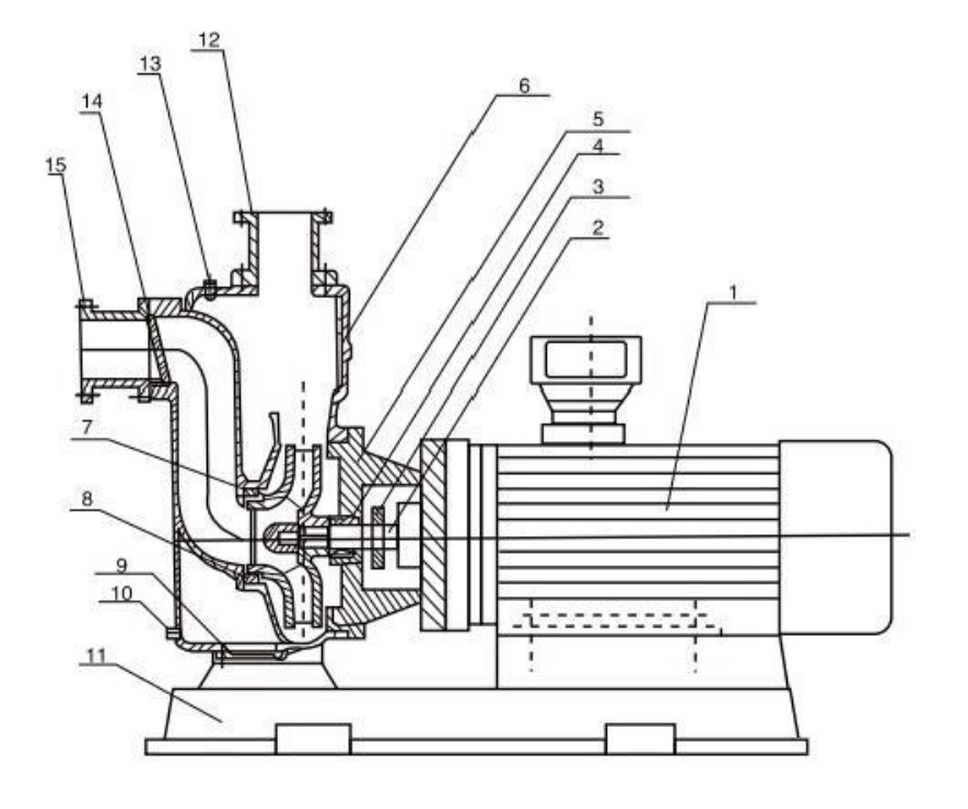
Diagrama estructural

| 1 | Motor | Se acopla directamente a la bomba para la transmisión de potencia. Utiliza motores de marca (el modelo CYZ-AL incorpora motores a prueba de explosiones). |
| 2 | Eje de la bomba | Coaxial con el motor. Diseño de eje extendido que garantiza la concentricidad para un funcionamiento suave (sin ruido ni vibraciones). Cromado para mayor durabilidad. |
| 3 | Anillo deflector de agua | Evita inundaciones en el motor debido a fugas en el sello. |
| 4 | Sello mecánico | Fabricado con acero inoxidable, carburo de tungsteno y caucho fluorado. Su diseño equilibrado, resistente a altas temperaturas y presiones, garantiza un funcionamiento sin fugas, cero desgaste del eje y ausencia de incrustaciones. |
| 5 | Tapa de la bomba | Conecta el cuerpo de la bomba y el motor. |
| 6 | Cuerpo de la bomba | Diseñado con cámaras hidráulicas optimizadas (descarga/succión/separación gas-líquido). Cuenta con patas de montaje para una instalación estable. |
| 7 | Impulso | Diseño hidráulico de alta eficiencia para un rendimiento confiable. |
| 8 | Anillo de sello | Sella la unión entre el impulsor y el cuerpo de la bomba. |
| 9 | Placa de cubierta inferior | Permite la eliminación de sedimentos al abrirse. |
| 10 | Tapón de drenaje | Drena el líquido residual durante la inactividad prolongada de la bomba. |
| 11 | Placa base | Proporciona conexión estructural y admite la instalación de aisladores de vibraciones. |
| 12 | Boquilla de descarga | Se conecta a las tuberías de salida. |
| 13 | Válvula de llenado de agua | Repone el líquido de la cavidad cuando es insuficiente. |
| 14 | Controlador de el volumen | Evita el reflujo al apagar la bomba. |
| 15 | Boquilla de entrada | Se conecta a las tuberías de admisión. |